TDM 850 4TX 1997
- Khrislm
- Auteur du sujet
- Nouveau membre
-
Moins
Plus d'informations
il y a 12 ans 1 semaine #7953
par Khrislm
TDM 850 4TX 1997 a été créé par Khrislm
Bonjour à tous,
Je viens de me procurer un jolie tdm de 1997.
Le seul souci est qu'il n'y a pas de robinet d'essence.
Après de moulte recherche une personne me propse un robinet mais je trouve bizarre qu'il n'y a qu'une durite branche dessus. Soit je suis bête ou ignorant mais je comprend pas trop le système de branchement des deux robinets.
Si quelqu'un peut me renseigner sa éviterais que j'achète le mauvais robinet.
Merki
Je viens de me procurer un jolie tdm de 1997.
Le seul souci est qu'il n'y a pas de robinet d'essence.
Après de moulte recherche une personne me propse un robinet mais je trouve bizarre qu'il n'y a qu'une durite branche dessus. Soit je suis bête ou ignorant mais je comprend pas trop le système de branchement des deux robinets.
Si quelqu'un peut me renseigner sa éviterais que j'achète le mauvais robinet.
Merki
Connexion ou Créer un compte pour participer à la conversation.
- nebulus
-
- Hors Ligne
- Baroudeur officiel du site !
-
Moins
Plus d'informations
- Messages : 1060
il y a 12 ans 1 semaine #7959
par nebulus
Je rappelle qu'aux échecs, si la victoire est brillante, l'échec est mat.
Coluche
Réponse de nebulus sur le sujet TDM 850 4TX 1997
97 4tx1, pas de jauge robinet avec réserve.
à partir de 99 4tx2 jauge et pompe électrique.
à partir de 99 4tx2 jauge et pompe électrique.
Je rappelle qu'aux échecs, si la victoire est brillante, l'échec est mat.
Coluche
Connexion ou Créer un compte pour participer à la conversation.
- Gordini
-
- Hors Ligne
- Vieux de la vieille
-
Moins
Plus d'informations
- Messages : 5740
il y a 12 ans 1 semaine #7982
par Gordini
Réponse de Gordini sur le sujet TDM 850 4TX 1997
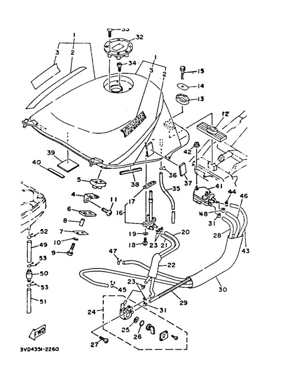
Sur 4TX1, il y a 2 robinets d'essence 
Le premier, visible, est sur la gauche de la moto, près de la vis de réglage du ralenti.
Le second est invisible sans démontage du réservoir, il est situé sous celui-ci, au milieu à l'arrière (du coté selle). Sur ce robinet, il n'y a qu'une seule durite branchée, c'est certainement le robinet que tu as récupéré
Si tu n'as pas le robinet visible, il est probable que le précédent propriétaire ai branché en direct la sortie du robinet "caché" :whistle:
Le premier, visible, est sur la gauche de la moto, près de la vis de réglage du ralenti.
Le second est invisible sans démontage du réservoir, il est situé sous celui-ci, au milieu à l'arrière (du coté selle). Sur ce robinet, il n'y a qu'une seule durite branchée, c'est certainement le robinet que tu as récupéré
Si tu n'as pas le robinet visible, il est probable que le précédent propriétaire ai branché en direct la sortie du robinet "caché" :whistle:
Connexion ou Créer un compte pour participer à la conversation.
- Khrislm
- Auteur du sujet
- Nouveau membre
-
Moins
Plus d'informations
il y a 12 ans 1 semaine #8021
par Khrislm
Réponse de Khrislm sur le sujet TDM 850 4TX 1997
Mer i du renseignement, donc si je comprend bien sur le robinet visible il y a une durite de branche et sur l'invisible deux durite alors.
Connexion ou Créer un compte pour participer à la conversation.
- nebulus
-
- Hors Ligne
- Baroudeur officiel du site !
-
Moins
Plus d'informations
- Messages : 1060
il y a 12 ans 1 semaine #8030
par nebulus
Je rappelle qu'aux échecs, si la victoire est brillante, l'échec est mat.
Coluche
Réponse de nebulus sur le sujet TDM 850 4TX 1997
non le robinet caché a deux sorties : normal et réserve par contre il les ferme en meme temps (pour retirer le réservoir) le visible servant a commuter entre les deux durites qui arrivent du premier, a quant à lui deux entrées et une sortie.
le premier est directement dans le réservoir et n'a donc pas de durite d'entrée juste deux sorties.
Si tu as un robibi qui a juste une entrée et une sortie il ne s'agit pas d'un organe de 4tx1.............
le premier est directement dans le réservoir et n'a donc pas de durite d'entrée juste deux sorties.
Si tu as un robibi qui a juste une entrée et une sortie il ne s'agit pas d'un organe de 4tx1.............
Je rappelle qu'aux échecs, si la victoire est brillante, l'échec est mat.
Coluche
Connexion ou Créer un compte pour participer à la conversation.
- Khrislm
- Auteur du sujet
- Nouveau membre
-
Moins
Plus d'informations
il y a 12 ans 1 semaine #8078
par Khrislm
Réponse de Khrislm sur le sujet TDM 850 4TX 1997
Connexion ou Créer un compte pour participer à la conversation.
- nebulus
-
- Hors Ligne
- Baroudeur officiel du site !
-
Moins
Plus d'informations
- Messages : 1060
il y a 12 ans 1 semaine #8083
par nebulus
Je rappelle qu'aux échecs, si la victoire est brillante, l'échec est mat.
Coluche
Réponse de nebulus sur le sujet TDM 850 4TX 1997
la première photo est le robinet caché sous le réservoir............................
sur la dernière c'est le deuxième (le visible) la durite est branchée sur la sortie et les deux durites qui arrivent du premier viennent se connecter sur les deux entrées que l'on voit à gauche sur la dernière photo.
sur la dernière c'est le deuxième (le visible) la durite est branchée sur la sortie et les deux durites qui arrivent du premier viennent se connecter sur les deux entrées que l'on voit à gauche sur la dernière photo.
Je rappelle qu'aux échecs, si la victoire est brillante, l'échec est mat.
Coluche
Connexion ou Créer un compte pour participer à la conversation.
- Claude59
- Nouveau membre
-
Moins
Plus d'informations
il y a 12 ans 1 semaine #8107
par Claude59
Réponse de Claude59 sur le sujet TDM 850 4TX 1997
Connexion ou Créer un compte pour participer à la conversation.
- Khrislm
- Auteur du sujet
- Nouveau membre
-
Moins
Plus d'informations
il y a 12 ans 4 jours #8384
par Khrislm
Réponse de Khrislm sur le sujet TDM 850 4TX 1997
coup de chance peut êtres, je viens de trouver sur internet un ensemble robinet et pompe avec durite pour 15€.
j'attends les pièces pour vite remonter la machine si c'est tout est ok.
j'attends les pièces pour vite remonter la machine si c'est tout est ok.
Connexion ou Créer un compte pour participer à la conversation.

